手机在线买球官方网站
手机在线买球官方网站

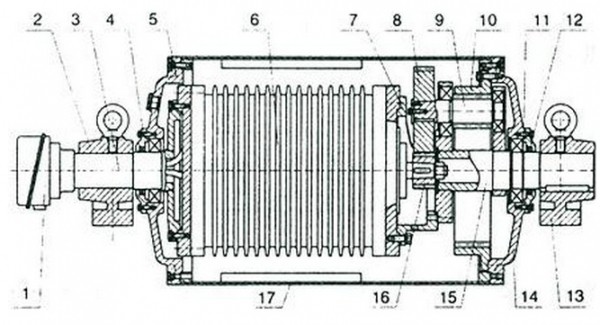
电动滚筒内部结构图是如何形成?

点击次数:   更新时间:19/05/10 16:12:05     来源:关闭分    享:

  电动滚筒内部结构图是如何形成的?先看下电动滚筒的结构图:

电动滚筒内部结构图

  电动滚筒传动机构便呈现了多种方式,主要有:
  1.渐开线齿轮平行轴定轴传动机构
  2.渐开线行星齿轮传动
  3.差动轮系机构
  4.摆线针轮行星传动
  5.谐波齿轮传动
  6.变速轴承传动
  电动滚筒是将电动机及减速安装作为一个整体置于滚筒体内部所以其构造主要部件就是电动机和减速安装这两大局部。电动滚筒中也有用来支撑保送带并且驱动其进行运动的滚筒体,可以用来支撑电动滚筒自身的前后轴、支座以及联接滚筒体与前后轴的端盖、压盖、轴承、密封圈等零部件动滚筒作为带式保送机的动力源,是它的主要用处。
  电动滚筒的工作特性是:
  ⑴ 可长时间连续工作因而请求电动机为连续工作。
  ⑵ 保送机一旦停机、请求电动滚筒可以在有负荷的状况下起动,因此请求电动机会有较大的起动转矩但是要注意请求起动电流不能太大。
  电动滚筒的主要构造及工作原理:
  电动滚筒的构造图它主要由支座、滚筒体、驱动电机、左右法兰轴、齿轮、龆轮和内齿圈等构成。左右法兰轴及驱动电机外壳连结成连续的抗弯梁可以接受胶带的拉力所以当电动机经两级齿轮减速后回带动滚筒体旋转,在滚筒转动时焊接在滚筒内壁上的刮油板带起注入滚筒内的机油从而完成对电机、齿轮、轴承等零部件的冷却和光滑。
  希望以上详细的介绍,能够有利于您更好的了解产品。电动滚筒专业生产厂家批发价格提供给消费者其质量可以放心!

买球官网手机版·(中国)官方网站
全国统一咨询热线:15275974555
公司地址:山东省淄博市博山区